La electrificación no solo está transformando la industria automotriz, también empieza a marcar el rumbo en el mundo de las dos ruedas. Sin embargo, para las motocicletas, el reto no se limita a la autonomía o la infraestructura de carga: el verdadero dilema es la pérdida de sensaciones que definen la experiencia de conducir.
Consciente de este vacío emocional, Yamaha sorprendió al registrar una patente que busca recrear las vibraciones y el rugido de un motor de combustión en una moto eléctrica.
Mantener viva la esencia del motociclismo
Para los motociclistas, el vínculo con la máquina es casi espiritual. El rugido del escape, el pulso del motor y las vibraciones que recorren el chasis forman parte del ritual de montar. Con los motores eléctricos, todo eso desaparece: no hay explosiones internas, ni latidos metálicos, apenas un zumbido discreto.

Yamaha entiende que esa desconexión puede frenar la transición eléctrica. Por eso, su propuesta apunta a ofrecer una moto que conserve la “vida” de una de gasolina, pero con las ventajas de cero emisiones.
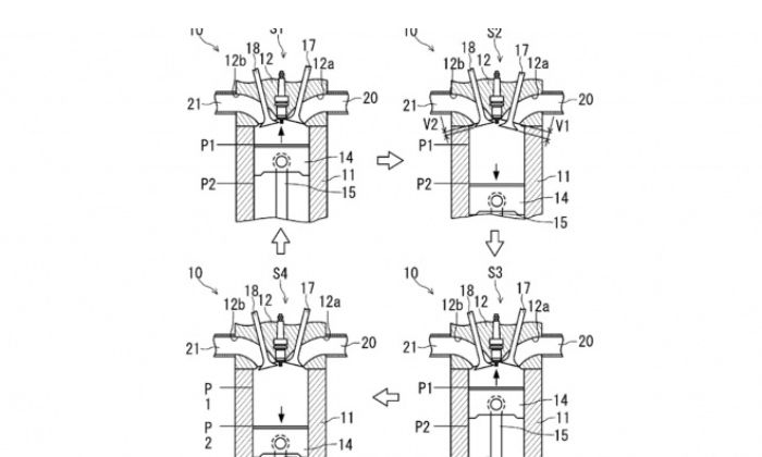
El “motor falso” que no impulsa, pero emociona
La patente, bautizada como “Saddle-Riding Type Electric Vehicle”, describe un ingenioso sistema con pistones, cigüeñal y válvulas de admisión y escape falsos, accionados eléctricamente. Estos elementos no mueven la rueda, pero generan vibraciones y sonidos muy similares a los de un motor real.
En otras palabras, Yamaha plantea un “motor fantasma” que no produce potencia, pero sí sensaciones, gracias al movimiento de masas internas que simulan el comportamiento de un cuatro tiempos.
Tradición y modernidad: un equilibrio necesario
La propuesta refleja la tensión que atraviesa el sector: mientras los fabricantes destacan silencio y eficiencia, los moteros lo perciben como pérdida de carácter. Yamaha busca un punto medio, donde nostalgia y sostenibilidad convivan.

El movimiento no es menor: en un mercado de motos eléctricas que todavía avanza lentamente, con barreras como autonomía e infraestructura, Yamaha podría diferenciarse apelando al lado emocional del motociclismo.
Un futuro todavía abierto
De momento, no hay planes de producción, solo una patente. Sin embargo, la jugada de Yamaha abre un debate crucial: ¿están listos los motoristas para aceptar un motor eléctrico que finge rugir y vibrar?
Quizá la respuesta defina si la electrificación de las dos ruedas será solo un cambio tecnológico o también una reinvención cultural.
























































